Схема пуска двигателя с фазным ротором, функции тока.

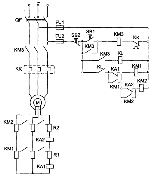
Схема подключения асинхронным двигателем с фазным ротором в функции тока представлена на рисунке 1. Для контроля пуска по току применяют токовые реле, которые срабатывают при пусковом токе и отпадают при минимальном токе переключения.
Пуск двигателя.

Cхема пуска двигателя с фазным ротором, функции тока.
Рисунок 1 — Cхема пуска двигателя с фазным ротором, функции тока.

Автоматическим выключателем QF напряжение подается на управляющую и силовую цепь. После нажатия кнопки Пуск” SB1, подключается магнитный пускатель КМ3, который срабатывая, шунтирует кнопку пуска, и подключает к питающей сети катушку блокировочного реле KL. Нормально разомкнутый контакт реле KL подает питание на пускатели КМ1, КМ2. Собственное время срабатывания реле тока КА1 и КА2 меньше, чем соответствующих контакторов КМ1 и КМ2, поэтому реле тока срабатывает раньше,  и пуск двигателя осуществляется с полностью введённым сопротивлением в цепь ротора.

В начальный момент пуска асинхронного двигателя с фазным ротором пусковой ток максимален, следовательно, срабатывает токовое реле КА1, которое своими разомкнутыми контактами не даёт сработать реле КМ1. По мере разгона двигателя пусковой ток уменьшается до значения уставки КА1 при котором КА1 отключается замыкая свои нормально замкнутые контакты, позволяя сработать реле КМ1 которое шунтирует первую ступень резистора. Одновременно замыкается блокировочный контакт КМ1, что ставит катушку контактора КМ1 на «самоподхват» при размыкании контакта КА1. После шунтирования первой ступени резистора ток снова возрастает до максимального значение, что вызывает срабатывание реле КА2 которое препятствует срабатыванию реле КМ2. После дальнейшего разгона двигателя ток снижается до тока срабатывания реле КА2 которое отключившись” подключает к напряжению магнитный пускатель КМ2. При этом шунтируется вторая ступень пускового резистора.

Cхема подключения двигателя с фазным ротором, функции времени.