Расчёт электрической цепи постоянного тока методом наложения (суперпозиции токов)
Этот метод заключается в том, что воздействие нескольких источников на какой либо элемент цепи можно рассматривать как результат воздействия на элемент каждой ЭДС по отдельности независимо от других источников.
Если в рассчитываемой цепи присутствует несколько источников ЭДС, то расчет электрической цепи сводится к расчету нескольких цепей с одним источником. Ток в любой ветви рассматривается как алгебраическая сумма частных токов созданных каждой ЭДС по отдельности.
Рассмотрим метод наложения на примере данной схемы рисунок 1.

Дано:
E1=100 B, E2=50 B; R1=4 Om, R2=10 Om; R3=12 Om, r01=1Om, r02=2 Om.
Найти: Все токи.
Порядок расчета:
- Определяем количество источников в схеме. В данной схеме два источника, значит нам нужно рассчитать две схемы.

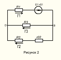
- Предположим, что в цепи действует только Е1 рисунок 2. Укажем на этой схеме направление частных токов создаваемые источником Е1 (токи обозначим с одним штрихом I’1; I’2: I’3). Обратите внимание, если у источника (E1; E2) есть внутреннее сопротивление (r01; r02), то при исключения данного источника его внутренне сопротивление остоётся в схеме.
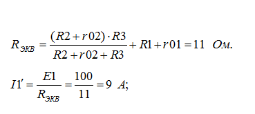
- Найдем ток I’1. Rэкв — сопротивление всей цепи.

- Найдем ток I’2; I’3 по формуле разброса токов.

- Мы нашли все частные токи в первой схеме (рисунок 2).
Рассмотрим вторую схему без E1, но с E2 (рисунок 3). Укажем на этой схеме направление частных токов создаваемые источником Е2 (токи обозначим с двумя штрихами I»1; I»2: I»3)- Найдем ток I»2. RЭКВ рассчитываем заново.

- Найдем токи I»1; I»3 по формуле разброса токов.

- Мы нашли все частные токи для второй схемы (рисунок 3).
- Найдем действующие токи в изначальной схеме (рисунок 1) путем алгебраического сложения частных токов первой (рисунок 2) и второй (рисунок 3) схемы. Для этого смотрим как направлены токи в одинаковых ветвях на рисунке 2 и 3. Если токи направлены в одном направлении, то тогда они складываются, а если токи направлены в разные стороны тогда отнимаем.

- Если конечные токи получаются положительные, то токи направлены так же как на рисунке 2, а если токи получились отрицательными, то тогда они направлены так же как на рисунке 3.
- Правильность решения можно проверить при помощи баланса мощности.