Регулирование частоты вращения двигателя постоянного тока независимого возбуждения ДПТ НВ

Способы регулирования частоты вращения двигателей оцени­ваются следующими показателями: плавностью регулирования; диапазоном регулирования, определяемым отношением наиболь­шей частоты вращения к наименьшей; экономичностью регулиро­вания, определяемой стоимостью регулирующей аппаратуры и потерями электроэнергии в ней.

Из (29.5) следует, что регулировать частоту вращения двига­теля независимого возбуждения можно изменением сопротивле­ния в цепи якоря, изменением основного магнитного потока Ф, изменением напряжения в цепи якоря.

clip_image002[5] (29.5)

Регулирование частоты вращения ДПТ НВ введение дополнительного сопротивления в цепь якоря

Дополнительное сопротивление (реостат rд) включают в цепь яко­ря аналогично пусковому реостату (ПР). Однако в отличие от по­следнего оно должно быть рассчитано на продолжительное проте­кание тока.

При включении сопротивления rд в цепь якоря выражение частоты (29.5) принимает вид

clip_image005, (29.12)

где clip_image007 — частота вращения в режиме х.х.;

clip_image009 — изменение частоты вращения, вызван­ное падением напряжения в цепи якоря.

С увеличением rд возрастает clip_image011, что ведет к уменьшению час­тоты вращения. Зависимость n = f(rд) иллюстрируется также и механическими характеристиками двигателя независимого воз­буждения (рис. 29.4, а): с повышением rд увеличивается наклон механических характеристик, а частота вращения при заданной нагрузке на валу (M = Mном ) уменьшается. Этот способ обеспечи­вает плавное регулирование частоты вращения в широком диапа­зоне (только в сторону уменьшения частоты от номинальной), од­нако он неэкономичен из-за значительных потерь электроэнергии в регулировочном реостате (I2a *rД), которые интенсивно растут с увеличением мощности двигателя.

clip_image002

Рис. 29.4. Механические характеристики двигателя параллельно­го возбуждения:

а — при введении в цепь якоря добавочного сопротивления;

б — при изменении основного магнитного потока;

в — при изменении напряже­ния в цепи якоря

Регулирование частоты вращения ДПТ НВ изменением основного магнитного потока

Этот способ регулирования в двигателе независимого возбуждения реализуется посредством реостата rрег в цепи обмотки возбуждения. Так, при уменьшении сопротивления реостата возрастает магнитный поток обмотки возбуждения, что сопровождается по­нижением частоты вращения [см. (29.5)]. При увеличении rрег час­тота вращения растет. Зависимость частоты вращения от тока воз­буждения выражается регулировочной характеристикой двигателя n=f(IВ) при clip_image007[7] и clip_image009[8].

Из выражения (29.5) следует, что с уменьшением магнитного потока Ф частота вращения n увеличивается по гиперболическому закону (рис. 29.5,а). Но одновременно уменьшение Ф ведет к рос­ту тока якоря Ia = M/(Cм*Ф). При потоке clip_image017[4] ток якоря дости­гает значения clip_image002[23], т. е. падение напряжения в цепи яко­ря достигает значения, равного половине напряжения, подведенного к якорю clip_image002[25]. В этих условиях частота вращения двигателя достигает максимума nmax. При дальнейшем уменьшении потока clip_image025 частота вращения двигателя начинает убывать, так как из-за интенсивного роста тока Ia второе слагаемое выражения (29.9) нарастает быстрее первого.

При небольшом нагрузочном моменте на валу двигателя мак­симальная частота вращения nmax во много раз превосходит номи­нальную частоту вращения двигателя nном и является недопусти­мой по условиям механической прочности двигателя, т. е. может привести к его «разносу». Учитывая это, при выборе реостата  rрег необходимо следить за тем, чтобы при полностью введенном его сопротивлении частота вращения двигателя не превысила допус­тимого значения.

Например, для двигателей серии 2П допускается превышение частоты вращения над номинальной не более чем в 2—3 раза. Необходимо также следить за надежностью электриче­ских соединений в цепи обмотки возбуждения двигателя, так как при разрыве этой цепи магнитный поток уменьшается до значения потока остаточного магнетизма Фост, при котором частота враще­ния может достигнуть опасного значения.

Вид регулировочных характеристик n = f(Ф) зависит от значе­ния нагрузочного момента M2 на валу двигателя: с ростом M2 мак­симальная частота вращения nmax уменьшается (рис. 29.5, б).clip_image038

Рис. 29.5. Регулировочные характеристики двигателя независимого возбуждения

Недостаток рассмотренного способа регулирования частоты вращения состоит в том, что при изменении магнитного потока Ф меняется угол наклона механической характеристики двигателя.

Рассмотренный способ регулирования частоты вращения прост и экономичен, так как в двигателях независимого возбуж­дения ток IВ = (0,01 — 0,07)Iа, а поэтому потери в регулировочном реостате clip_image002[29] невелики.

Однако диапазон регулирования обычно составляет nMAX/nMIN = 2 — 5. Объясняется это тем, что нижний предел частоты вращения обусловлен насыщением машины, ограничивающим значение магнитного потока Ф, а верхний предел частоты опасностью «разноса» двигателя и усилением влияния реакции якоря, иска­жающее действие которого при ослаблении основною магнитного потока Ф усиливается и ведет к искрению на коллекторе или же к появлению кругового огня.

Регулирование частоты вращения ДПТ НВ изменение напряжения в цепи якоря

Регулирование часто­ты вращения двигателя изменением питающего напряжения при­меняется лишь при IB = const, т. е. при раздельном питании цепей обмотки якоря и обмотки возбуждения при независимом возбуж­дении.

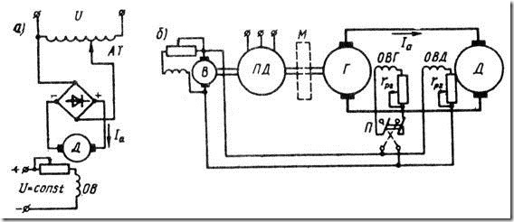
Частота вращения в режиме х.х. n0 пропорциональна напря­жению, а clip_image006 от напряжения не зависит, поэтому ме­ханические характеристики двигателя при изменении напряжения не меняют угла наклона к оси абсцисс, а смещаются по высоте, оставаясь параллельными друг другу (см. рис. 29.4, в). Для осуще­ствления этого способа регулирования необходимо цепь якоря двигателя подключить к источнику питания с регулируемым на­пряжением. Для управления двигателями малой и средней мощно­сти в качестве такого источника можно применить регулируемый выпрямитель, в котором напряжение постоянного тока меняется регулировочным автотрансформатором (АТ), включенным на вхо­де выпрямителя (рис. 29.6,а).

Для управления двигателями большой мощности целесооб­разно применять генератор постоянного тока независимого возбу­ждения; привод осуществляется посредством приводного двигате­ля (ПД), в качестве которого обычно используют трехфазный двигатель переменного тока. Для питания постоянным током це­пей возбуждения генератора Г и двигателя Д используется возбу­дитель В — генератор постоянного тока, напряжение на выходе которого поддерживается неизменным. Описанная схема управле­ния двигателем постоянного тока (рис. 29.6, б) известна под на­званием системы «генератор — двигатель» (Г—Д).

clip_image010

Рис. 29.6. Схемы включения двигателей постоянного тока при регули­ровании частоты вращения изменением напряжения в цепи якоря

Изменение напряжения в цепи якоря позволяет регулировать частоту вращения двигателя вниз от номинальной, так как напря­жение свыше номинального недопустимо. При необходимости регулировать частоту вращения вверх от номинальной можно вос­пользоваться изменением тока возбуждения двигателя.

Изменение направления вращения (реверс) двигателя, рабо­тающего по системе ГД, осуществляется изменением направле­ния тока в цепи возбуждения генератора Г переключателем П, т. е. переменой полярности напряжения на его зажимах. Если двигатель постоянного тока работает в условиях резко переменной на­грузки, то для смягчения колебаний мощности, потребляемой ПД из трехфазной сети, на вал ПД помещают маховик М, который за­пасает энергию в период уменьшения нагрузки на двигатель Д и отдает ее в период интенсивной нагрузки двигателя.

Регулирование частоты вращения изменением напряжения в цепи якоря обеспечивает плавное экономичное регулирование в широком диапазоне nMAX/nMIN ≥ 25 . Наибольшая частота вращения здесь ограничивается условиями коммутации, а наименьшая — условиями охлаждения двигателя.

Еще одним достоинством рассматриваемого способа регули­рования является то, что он допускает безреостатный пуск двига­теля при пониженном напряжении.

Импульсное регулирование частоты вращения ДПТ НВ

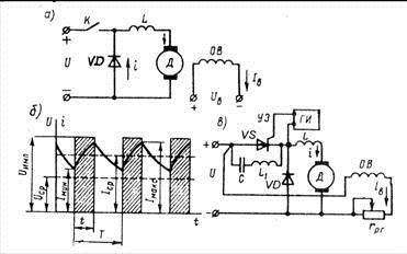
Сущность этого способа регулирования иллюстрируется схемой, изображен­ной на рис. 29.7, а. Цепь обмотки якоря двигателя параллельного (независимого) возбуждения периодически прерывается ключом К. Во время замыкания цепи якоря на время t к обмотке якоря подводится напряжение U = Uимпи ток в ней достигает значения Iamax. Затем ключом К цепь якоря размыкают и ток в ней убывает, достигая к моменту следующего замыкания цепи значения Iamin (при размыкании ключа К ток в обмотке якоря замыкается через диод VD). При следующем замыкании ключа К ток достигает зна­чения Iamax и т. д. Таким образом, к обмотке якоря подводится не­которое среднее напряжение

clip_image002[35], (29.13)

где Т— отрезок времени между двумя следующими друг за другом импульсами напряжения (рис. 29.7, б); clip_image002[37] — коэффициент управления.

При этом в обмотке якоря проходит ток, среднее значение которого clip_image002[39].

При импульсном регулировании частота вращения двигателя

clip_image002[43]. (29.14)

Таким образом, импульсное регулирование частоты вращения аналогично регулированию изменением подводимого к цепи якоря напряжения. С целью уменьшения пульсаций тока в цепи якоря включена катушка индуктивности (дроссель) clip_image031[4], а частота подачи импульсов равна 200—400 Гц.

На рис. 29.7, в представлена одна из возможных схем им­пульсного регулирования, где в качестве ключа применен управ­ляемый диод — тиристор VS. Открывается тиристор подачей крат­ковременного импульса от генератора импульсов (ГИ) на управляющий электрод (УЭ) тиристора. Цепь L1C, шунтирующая тиристор, служит для запирания последнего в период между двумя управляющими импульсами. Происходит это следующим образом: при открывании тиристора конденсатор С перезаряжается через контур L1C и создает на силовых электродах тиристора напряже­ние, обратное напряжению сети, которое прекращает протекание тока через тиристор. Параметрами цепи L1C определяется время (с) открытого состояния тиристора: clip_image002[45]. Здесь L1 выража­ется в генри (Гн); С — в фарадах (Ф).clip_image040

Рис. 29.7. Импульсное регулирование частоты вращения двига­теля постоянного тока

Значение среднего напряжения Uср регулируется изменением частоты следования управляющих импульсов от генератора им­пульсов на тиристор VS.

Жесткие механические характеристики и возможность плав­ного регулирования частоты вращения в широком диапазоне оп­ределили области применения двигателей независимого возбуж­дения в станочных приводах, вентиляторах, а также во многих других случаях регулируемого электропривода, где требуется ус­тойчивая работа при колебаниях нагрузки.